Google News

Airbus phát triển trực thăng bay nhanh nhất thế giới

Nguyên mẫu trực thăng siêu tốc X3 Rotorcraft.
Nguyên mẫu trực thăng siêu tốc X3 Rotorcraft.
Ngày 25/5, tờ Daily Mail (Anh) đăng tải thông tin cho biết, Tập đoàn chế tạo máy bay Airbus đã đăng ký bản quyền dòng máy bay trực thăng thế hệ mới có khả năng đạt tốc độ bay nhanh nhất thế giới.

Theo thông tin từ Airbus, trực thăng mới có khả năng đạt tốc độ bay tới 470km/giờ. Máy bay trực thăng mới được phát triển dựa trên công nghệ thu được từ quá trình thử nghiệm nguyên mẫu trực thăng Eurocopter X3 Rotorcraft.

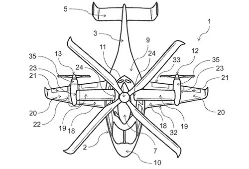
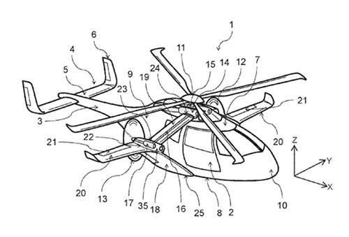
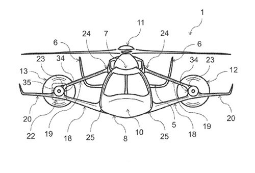
Trong mô hình máy bay trực thăng được Airbus công bố, máy bay trực thăng mới được bổ sung hệ thống cánh quạt đẩy ở hai bên cánh. Tuy nhiên, khác biệt so với nguyên mẫu X3 Rotorcraft, kết cấu cánh quạt mới được đặt phía sau cánh ở hai bên thân máy bay với mục đích giảm tiếng ồn khi hoạt động. Trực thăng siêu tốc mới của Tập đoàn Airbus trang bị hai động cơ  Rolls Royce Turbomeca RTM322.

Các dòng máy bay trực thăng phổ biến trên thế giới hiện có thể đạt tốc độ bay trung bình 240-260km/giờ. Chỉ có dòng trực thăng vận tải sử dụng kết cấu cánh quạt đặc biệt là CH-47 Chinook có thể đạt tốc độ bay tới 310km/giờ.

Hình ảnh về dòng trực thăng siêu tốc mới của Tập đoàn  Airbus.

Trước khi dòng trực thăng mới được Airbus đăng ký bản quyền, công ty con của tập đoàn này là Eurocopter đã chế tạo một nguyên mẫu trực thăng siêu tốc X3 Rotorcraft để thực nghiệm công nghệ. Trong một chuyến bay thử, nguyên mẫu này đã đạt tốc độ bay kỷ lục tới 472km/giờ trong thời gian ngắn. Hiện, nguyên mẫu X3 Rotorcraft đang được trưng bày tại Bảo tàng Hàng không vũ trụ tại Paris, Pháp.