Vào năm 2021, nhà phân tích nổi tiếng là Ming-Chi Kuo đã thắp lên hy vọng của những người hâm mộ Touch ID. Ông chia sẻ rằng Apple đang nghiên cứu Touch ID ẩn dưới màn hình. Điều này càng được củng cố thêm khi Apple đã được cấp bằng sáng chế một thiết bị tích hợp Touch ID dưới màn hình.
![]() |
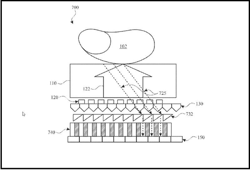
Bằng sáng chế đang được đề cập do USPTO (Văn phòng Nhãn hiệu và Sáng chế Hoa Kỳ) công bố cách đây ít ngày và có tiêu đề là "Cảm biến vân tay dưới màn hình dựa trên trục ánh sáng góc". Nguồn tin cho biết, phần tóm tắt của bằng sáng chế này là một thuật ngữ nâng cao về quang học hoặc thiên văn học. Nhưng điều quan trọng là Apple vẫn đang nghiên cứu cách tích hợp Touch ID dưới màn hình của iPhone.
Theo những dự đoán cũng như một số thông tin rò rỉ mới nhất, chiếc iPhone với Touch ID dưới màn hình có thể ra mắt sớm nhất vào cuối năm nay, khả năng chính là iPhone 14.
![]() |
| Apple chia sẻ trong bằng chế rằng công nghệ Touch ID dưới màn hình "đặc biệt thuận lợi cho việc xác minh hoặc xác thực trong một thiết bị điện tử". |
Một điều khác mà bằng sáng chế nói trên tiết lộ rằng Apple đang đi theo con đường vân tay quang học. Vẫn chưa chắc chắn liệu công công nghệ này có được hiện thực hóa hay không, khi mà các công ty công nghệ xuất bản hàng trăm bằng sáng chế mỗi năm, chỉ có một tỷ lệ rất nhỏ trong số đó được hiện thực hóa mà thôi.
![]() |


