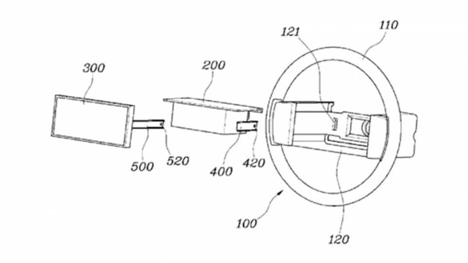
Mới đây, hãng xe Hàn Quốc đã nộp bằng sáng chế tại Đức cho việc gắn màn hình trên vô lăng trước mặt người lái, đồng thời loại bỏ hiệu quả cụm đồng hồ thông thường. Theo các bản vẽ được Hyundai cung cấp, vô lăng có gắn màn hình dạng ngang theo hai chấu ở vị trí 9h và 3h.
Thiết kế này nhằm giải quyết vấn đề về tầm nhìn của tài xế hướng vào cụm đồng hồ thông thường bị vướng bởi chính vô lăng. Với việc tích hợp các thông tin phù hợp nhất trên vô lăng, mắt của người lái sẽ không bị cản trở khi cần nhìn tốc độ xe, vòng tua động cơ hay quãng đường di chuyển.
![]() |
![]() |
| Bằng sáng chế được Hyundai nộp tại Đức. |
Tuy nhiên, màn hình hiển thị cụm đồng hồ sẽ di chuyển cùng với vô lăng, đặc biệt sẽ gây khó chịu khi ô tô phải rẽ ở các khúc cua hay quay đầu. Đồng thời, người lái sẽ phải đánh mắt xa hơn bình thường, gây tốn nhiều thời gian và nguy cơ gây nguy hiểm cao hơn.
Trong khi đó, vấn đề lắp đặt túi khí cũng trở nên khó khăn hơn nếu bố trí màn hình trên vô lăng. Nhưng bằng sáng chế của Hyundai cũng mô tả cấu tạo của cụm túi khí sẽ gập ra sau vô lăng mà không bị cản trở hay làm hỏng màn hình kỹ thuật số.
Trước đây, Hyundai cũng từng thử nghiệm và nộp bằng sáng chế cho phép thay nút điều khiển vật lý trên vô lăng bằng các màn hình cảm ứng có thể thay đổi chức năng tùy thuộc vào người dùng. Bằng sáng chế mới này có khác biệt rất lớn khi hiển thị thông tin đồng hồ, không cần điều khiển.
![]() |
| Hyundai từng nộp bằng sáng chế cho phép gắn màn hình cảm ứng thay nút vật lý trên vô lăng. |
Thương hiệu sang trọng Genesis của Hyundai cũng từng tiết lộ mẫu xe ý tưởng Mint với màn hình rộng tích hợp vào vô lăng, nhiều người mong đợi bằng sáng chế trên sẽ xuất hiện trên một mẫu xe Hàn Quốc trong tương lai.


