| Đoạn video về vụ pháo kích bằng đạn cháy 9M22S. Nguồn: Avia |
9M22S được Hiệp hội nghiên cứu và sản xuất Splav phát triển vào năm 1971, dựa trên loại đạn nổ phân mảnh cao 9M22 (HE-FRAG) ra đời trước đó. 9M22S được thiết kế để tiêu diệt nhân lực và thiết bị của đối phương bằng cách tạo ra các đám cháy lớn cũng như các đòn tấn công trực diện.
![]() |
| Đạn cháy 9M22S. Ảnh: cat-uxo.com |
Đạn cháy 9M22S được khởi tạo bằng điện và phóng từ hệ thống phóng loạt BM-21 Grad, tầm bắn từ 1,6-20 km.
![]() |
| Mô phỏng tên lửa 9M22S. Ảnh: mil.in.ua |
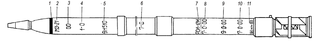
Thay thế đầu đạn nổ phân mảnh thông thường của tên lửa 9M22, tên lửa 9M22S mang đầu đạn 9H510. Đầu đạn của tên lửa này bao gồm 180 phần tử chiến đấu gây cháy với tổng trọng lượng là 5,94 kg.
![]() |
| Ảnh: mil.in.ua |
Các phần tử gây cháy này bao gồm các lăng trụ lục giác làm bằng hợp kim magiê được gọi là ML-5. Khi tiến hành khai hỏa, loại đạn này sẽ phát ra các vệt lửa màu trắng như pháo hoa.
![]() |
| Các phần tử gây cháy hình lục giác. Ảnh: armamentresearch.com |
Mỗi phần tử có chiều dài là 40 mm và rộng 25 mm và có thời gian cháy ít nhất là 2 phút. Các yếu tố gây cháy được đóng gói vào thân tên lửa trong 9 lớp gồm 18 phần tử mỗi lớp. Sau khi tên lửa được bắn, các phần tử riêng lẻ được đốt cháy và phân tán trên diện tích khoảng 64.000 m2.



