Mới đây, Subaru đã nộp đơn xin cấp bằng sáng chế tại Mỹ cho một phương tiện "land-and-air" (mặt đất và trên không), được tính như một mẫu môtô bay. Các hình ảnh trong đơn đăng ký cho thấy rõ điều này với kiểu dáng như xe máy gắn thân máy bay bên ngoài.
![]() |
| Ở trạng thái chạy trên đường, đôi cánh được gập vào thân xe |
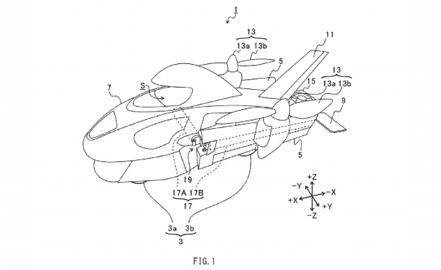
Dựa trên ứng dụng ngoài đời thực, đôi cánh của mẫu xe máy Subaru này sẽ được gập vào phần thân xe ở điều kiện bình thường. Trong quá trình cất cánh, bộ phận này sẽ mở ra với các cánh quạt hướng lên để thực hiện việc bay theo hướng thẳng đứng, được hỗ trợ thêm với một cánh quạt cố định phía sau.
Sau khi đã lên tới độ cao cần thiết, cánh sẽ lật ngang và đóng vai trò như máy bay truyền thống trong khi các bánh xe sẽ được giấu vào trong.
![]() |
| Các trạng thái chuyển đổi khi xe cất cánh và bay trên không. |
Thú vị nhất là việc Subaru sẽ trang bị động cơ đốt trong chứ không theo xu hướng điện hóa, động cơ này vừa giúp di chuyển ở trạng thái xe máy và tạo ra năng lượng cho mô tơ điện trong trạng thái bay. Xe cũng sở hữu chế độ lái tự động, cho phép người lái/phi công tập trung ở những trường hợp vào cua, chạy tốc độ và lên cao.
Ý tưởng của Subaru về một môtô bay như vậy không khiến nhiều người bất ngờ, hãng xe Nhật đã từng đưa ra những ý tưởng khác biệt khi họ sở hữu bộ phận hàng không vũ trụ làm việc với Boeing và Lực lượng Phòng vệ Nhật Bản.
![]() |
| Mẫu xe này có hai bánh và chạy bằng động cơ đốt trong. |
Trong khi đó, một số nhà sản xuất ôtô và công ty công nghệ đã triển khai các phương tiện VTOL cá nhân nhưng hầu hết chúng đều là máy bay không người lái tự động và chạy bằng điện.


